DR10DP - Редукционный клапан Ду 10 трехлинейный, прямого действия
Гидравлический клапан DR10DP является редукционный трехлинейным клапаном с ручным управлением и применяется для точной регулировки давления в конкретном исполнительном органе гидросистемы и в качестве балансировочного или уравновешивающего клапана, которые обычно применяются для обезвешивания шпиндельных узлов станков или размывателей рулонного металла. Клапан DR10DP устанавливает на монтажную поверхность Ду10 (ISO5781), в том числе и в качестве верхнего клапана, закрывающего столб из модульного набора клапанов. Клапаны DR10DP производятся в Китае на ведущем заводе-изготовителе гидроаппаратуры и являются качественными аналогами одноименного клапана известного немецкого бренда.
Типоразмер 10
Серия изделия 4X
Макс. рабочее давление 210 бар
Максимальный расход: 80 л/мин
| Типоразмер | 10 |
| Серия изделия | 4X |
| Макс. рабочее давление | 210 бар |
| Максимальный расход | 80 л/мин |
РЕЗУЛЬТАТЫ:
Особенности:
- Стыкового монтажа присоединительные размеры по DIN 24340 Form D, ISO 5781 и CETOP-RP 121 Н
- Монтажные плиты заказывать отдельно
- 4 варианта диапазонов давления
- 2 регулировочных устройства:
- вращающаяся кнопка;
- винт с шестигранником и защитным колпачком
Принцип действия, вид в разрезе
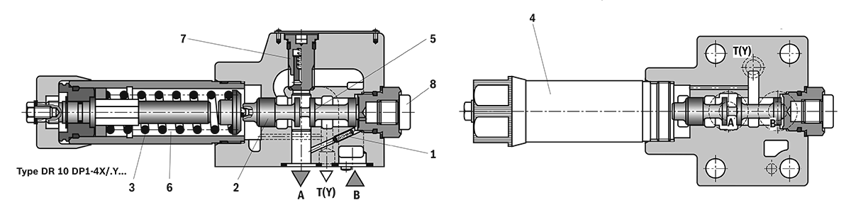
Клапан типа DR 10 DP представляет собой редукционный клапан прямого действия трехлинейного исполнения, т.е. он имеет предохранение по давлению во вторичном контуре. Клапан предназначен для понижения давления в гидросистеме. Настройка давления во вторичном контуре осуществляется посредством регулировочного устройства. На исходной позиции клапан открыт; напорная жидкость может беспрепятственно течь из канала Р в канал А. Давление в канале А действует одновременно через канал управления (4) на площадь поршня, находящуюся напротив пружины сжатия (3). Если давление в канале А превысит установленное на пружине сжатия (3) значение, то тогда поршень (2) перемещается на позицию регулирования и поддерживает постоянной величину установленного давления в канале А. Сигнал и управляющее масло поступают внутренним путем через линию управления (4) из канала А. Если давление в канале А будет увеличиваться дальше в результате воздействия внешних сил на потребитель, то тогда поршень (2) будет перемещаться еще дальше в направлении пружины сжатия (3). Вследствие этого канал А соединяется через управляющую кромку (5) на поршне (2) с баком. В бак стекает такое количество напорной жидкости, что давление больше не может повыситься. Дренаж полости пружины (6) осуществляется всегда наружу через канал Т (Y). Для свободного обратного течения масла из канала А в канал Р можно по желанию заказчика встроить обратный клапан (7). Присоединение манометра (8) дает возможность проверять давление во вторичном контуре.

Особенности:
- Стыкового монтажа присоединительные размеры по DIN 24340 Form D, ISO 5781 и CETOP-RP 121 Н
- Монтажные плиты заказывать отдельно
- 4 варианта диапазонов давления
- 2 регулировочных устройства:
- вращающаяся кнопка;
- винт с шестигранником и защитным колпачком
Принцип действия, вид в разрезе
Клапан типа DR 10 DP представляет собой редукционный клапан прямого действия трехлинейного исполнения, т.е. он имеет предохранение по давлению во вторичном контуре. Клапан предназначен для понижения давления в гидросистеме. Настройка давления во вторичном контуре осуществляется посредством регулировочного устройства. На исходной позиции клапан открыт; напорная жидкость может беспрепятственно течь из канала Р в канал А. Давление в канале А действует одновременно через канал управления (4) на площадь поршня, находящуюся напротив пружины сжатия (3). Если давление в канале А превысит установленное на пружине сжатия (3) значение, то тогда поршень (2) перемещается на позицию регулирования и поддерживает постоянной величину установленного давления в канале А. Сигнал и управляющее масло поступают внутренним путем через линию управления (4) из канала А. Если давление в канале А будет увеличиваться дальше в результате воздействия внешних сил на потребитель, то тогда поршень (2) будет перемещаться еще дальше в направлении пружины сжатия (3). Вследствие этого канал А соединяется через управляющую кромку (5) на поршне (2) с баком. В бак стекает такое количество напорной жидкости, что давление больше не может повыситься. Дренаж полости пружины (6) осуществляется всегда наружу через канал Т (Y). Для свободного обратного течения масла из канала А в канал Р можно по желанию заказчика встроить обратный клапан (7). Присоединение манометра (8) дает возможность проверять давление во вторичном контуре.

- Описание
- Код заказа
- Технические характеристики
- Графики
- Размеры, мм
- Видео в категории
- Фото
- Дополнительно
Особенности:
- Стыкового монтажа присоединительные размеры по DIN 24340 Form D, ISO 5781 и CETOP-RP 121 Н
- Монтажные плиты заказывать отдельно
- 4 варианта диапазонов давления
- 2 регулировочных устройства:
- вращающаяся кнопка;
- винт с шестигранником и защитным колпачком
Принцип действия, вид в разрезе
Клапан типа DR 10 DP представляет собой редукционный клапан прямого действия трехлинейного исполнения, т.е. он имеет предохранение по давлению во вторичном контуре. Клапан предназначен для понижения давления в гидросистеме. Настройка давления во вторичном контуре осуществляется посредством регулировочного устройства. На исходной позиции клапан открыт; напорная жидкость может беспрепятственно течь из канала Р в канал А. Давление в канале А действует одновременно через канал управления (4) на площадь поршня, находящуюся напротив пружины сжатия (3). Если давление в канале А превысит установленное на пружине сжатия (3) значение, то тогда поршень (2) перемещается на позицию регулирования и поддерживает постоянной величину установленного давления в канале А. Сигнал и управляющее масло поступают внутренним путем через линию управления (4) из канала А. Если давление в канале А будет увеличиваться дальше в результате воздействия внешних сил на потребитель, то тогда поршень (2) будет перемещаться еще дальше в направлении пружины сжатия (3). Вследствие этого канал А соединяется через управляющую кромку (5) на поршне (2) с баком. В бак стекает такое количество напорной жидкости, что давление больше не может повыситься. Дренаж полости пружины (6) осуществляется всегда наружу через канал Т (Y). Для свободного обратного течения масла из канала А в канал Р можно по желанию заказчика встроить обратный клапан (7). Присоединение манометра (8) дает возможность проверять давление во вторичном контуре.


| Рабочая жидкость | Минеральное масло (HL, HLP) по DIN 51 524; | |
| Температурный диапазон рабочей жидкости, | оC | - 30 до + 80 для уплотнений NBR |
| Диапазон вязкости | мм2/с | 10 до 800 |
| Чистота рабочей жидкости | Максимально допустимое значение загрязн. рабочей жидкости - класс 9 по NAS 1638. Рекомендуется использовать фильтры с коэфф. фильтрации b10 ³ 75. | |
| Рабочее давление присоедин . Р | бар | до 315 |
| Рабочее давление присоедин . А | бар | до 25; до 75; до 150; до 210 |
| Противодавление присоедин. T (У) | бар | до 160 |
| Максимально допустимый расход | л/мин. | до 80 |
| Масса | кг | около 3 |

Примечание:
Ход кривой сохраняется при установленном на более низкую величину давлении.
Характеристики режима редуцирования даны для случая отсутствия подпора давления на выходе.
- Из Р в Y (минимальная разность давлений)
- Из В в А (минимальная разность давлений)
- только через обратный клапан
- через обратный клапан и поршень

- Табличка
- Регулировочное устройство "1"
- Регулировочное устройство "2"
- Регулировочное устройство "3"
- Регулировочное устройство "7"
- Место для удаления ключа
- Крепежные отверстия для клапана
- Контргайка, размер под ключ 24
- Шестигран., размер под ключ 10
- Уплотнительное кольцо-R 17.56 х 2.4 х 2.62 для каналов А и В, Т(Y), кольцо-R 9,81х1,5х1,78 для канала Y.
- Присоединение для манометра G1/4, глубина 12, внутренняя.
- Штифт-фиксатор.
- Монтажная поверхность по DIN 24340 Form D, ISO 5781 и CETOP-RP 121 Н.
Крепежные винты для клапана М10х60 по DIN 912-10.9 с моментом затяжки МА=8,9 Нм, заказываются отдельно.
Трубная резьба (G...) согласно ISO 228/1.

На сайте представлены далеко не все варианты клапанов Рексрот*, аналоги которых мы предлагаем.
Ниже приведен список артикулов клапана Bosch Rexroth клапана DR10DP, аналоги которых мы также можем предоставить или подобрать замену.
Если Вы нашли нужный артикул или код клапана в списке ниже или, наоборот, затрудняетесь это сделать - напишите нам, мы ответим оперативно.
| R900750954 | DR10DP1-4X/150P100YM | R900902914 | DR10DP3-4X/210Y/12 |
| R900500256 | DR10DP1-4X/150YM | R900517370 | DR10DP3-4X/210YM |
| R900506974 | DR10DP1-4X/150YMV | R900772067 | DR10DP3-4X/210YV |
| R900506095 | DR10DP1-4X/210YM | R901200427 | DR10DP3-4X/210YV/12 |
| R900511233 | DR10DP1-4X/210YMV | R900500497 | DR10DP3-4X/25Y |
| R900522877 | DR10DP1-4X/210YV | R900594126 | DR10DP3-4X/25YM |
| R900507672 | DR10DP1-4X/25Y | R900946790 | DR10DP3-4X/25YMV |
| R900503599 | DR10DP1-4X/25YM | R900518920 | DR10DP3-4X/25YV |
| R901103541 | DR10DP1-4X/25YMV | R900502655 | DR10DP3-4X/75Y |
| R900750955 | DR10DP1-4X/75P50YM | R900500258 | DR10DP3-4X/75YM |
| R900500257 | DR10DP1-4X/75Y | R901201755 | DR10DP3-4X/75YM/12 |
| R900594124 | DR10DP1-4X/75YMV | R900753678 | DR10DP3-4X/75YMV |
| R900514173 | DR10DP1-4X/75YV | R900943962 | DR10DP7-4X/150Y |
| R901162034 | DR10DP2-4X/150-100Y | R900594127 | DR10DP7-4X/150YM |
| R901271517 | DR10DP2-4X/150-105YM | R900952959 | DR10DP7-4X/150YMV |
| R900944097 | DR10DP2-4X/150YM/12 | R901097550 | DR10DP7-4X/210Y |
| R901036834 | DR10DP2-4X/150YMJ | R900937514 | DR10DP7-4X/210YM |
| R900516293 | DR10DP2-4X/150YMV | R901387766 | DR10DP7-4X/210YMV |
| R900547058 | DR10DP2-4X/150YV | R900566332 | DR10DP7-4X/210YV |
| R900501565 | DR10DP2-4X/210YJ | R900539316 | DR10DP7-4X/25Y |
| R900784572 | DR10DP2-4X/210YM/12 | R901035741 | DR10DP7-4X/25YM |
| R900510212 | DR10DP2-4X/210YMJ | R901013888 | DR10DP7-4X/25YMV |
| R900516873 | DR10DP2-4X/210YMV | R900509400 | DR10DP7-4X/75Y |
| R900525725 | DR10DP2-4X/210YV | R900566863 | DR10DP7-4X/75YM |
| R900505901 | DR10DP2-4X/25Y | R901013889 | DR10DP7-4X/75YMV |
| R900500563 | DR10DP2-4X/25YM | R900564838 | DR10DP7-4X/75YV |
| R978899929 | DR10DP2-4X/25YM/12 | ||
| R900521015 | DR10DP2-4X/25YMJ | ||
| R900509344 | DR10DP2-4X/25YMV | ||
| R900538133 | DR10DP2-4X/25YV | ||
| R900952612 | DR10DP2-4X/75YJ | ||
| R978910808 | DR10DP2-4X/75YM/12 | ||
| R900931890 | DR10DP2-4X/75YMJ | ||
| R900504798 | DR10DP2-4X/75YMV | ||
| R900501597 | DR10DP2-4X/75YV | ||
| R901322586 | DR10DP2-4X=25YMJ | ||
| R900502529 | DR10DP3-4X/150Y | ||
| R900500041 | DR10DP3-4X/150YM | ||
| R900539379 | DR10DP3-4X/150YMV | ||
| R900522399 | DR10DP3-4X/150YV | ||
| R900500903 | DR10DP3-4X/210Y |
