Принципиально работа регулирующей и направляющей аппаратуры пневмосистем не отличается от аналогичных гидравлических аппаратов. Однако в связи с тем, что промышленные пневматические привода работают на небольших давлениях, не превышающих 1 МПа, пневматическая аппаратура конструктивно более многообразна. Так, пневматические аппараты могут быть как плунжерного типа, так и клапанного.
К регулирующей пневмоаппаратуре относят устройства регулирования расхода сжатого воздуха и его давления. Устройством регулирования сжатого воздуха является пневматический дроссель. Принцип его действия аналогичен гидравлическому дросселю, т.е. регулирование потока сжатого воздуха осуществляется путем изменения площади проходного сечения аппарата. Это довольно простой по конструкции аппарат (рис.2.113а). В корпусе 2 выполнены каналы А и Б, а их проходное сечение перекрывается игольчатым затвором в виде винта 1. Вращая винт, можно изменять площадь проходного сечения дросселя и регулировать тем самым поток сжатого воздуха.
Наиболее широко известен пневматический дроссель игольчатого типа с обратным клапаном, который дает возможность осуществлять регулирование подачи сжатого воздуха и свободно пропускать его в обратном направлении (рис.2.113б).При подаче сжатого воздуха в канал А он попадает по отверстию а к затвору 2 в виде иглы, проходит зазор, образованный конической частью затвора и седлом в корпусе 3 и выходит в пневмосистему по каналу Б. При обратном направлении движения потока воздуха он открывает шариковый обратный клапан1 и беспрепятственно, минуя дроссельную щель, выходит в канал А.
Широко также используется и тормозной пневмодроссель (рис.2.113в). Его особенность состоит в том, что он может увеличить сопротивление прохождению сжатого воздуха, что дает возможность затормозить пневматический двигатель.
Настройка пропускаемого дросселем потока сжатого воздуха осуществляется регулировочным винтом 6. Он воздействует на рычаг 7, который через толкатель 8 перемещает поршень 2. Тем самым устанавливается необходимый зазор между коническим затвором поршня и его седлом в корпусе 1. Сжатый воздух, вытесняемый пневмодвигателем, подается в канал а, проходит зазор и уходит в канал б. При этом пневмодвигатель движется со скоростью, определяемой расходом воздуха через установленный зазор дросселя. Вместе с исполнительным узлом, приводимым в движение пневмодвигателем, перемещается упор (на рис.2.113в не показан), который наезжает на ролик 9 рычага 7. Рычаг поворачивается вниз, уменьшая проходное сечение дросселя (увеличивая сопротивление потоку воздуха из пневмодвигателя). Скорость движения пневмодвигателя падает, и он плавно тормозится. Время торможения и его плавность зависят от профиля упора и его длины, контактирующей с роликом. Для реверса двигателя воздух подают в канал б. Своим потоком воздух открывает обратный клапан 3, сжимая пружину 4, и беспрепятственно из канала а идет в пневмодвигатель. Когда ролик 9 освободится от действия упора, пружина 5 восстановит настроенное винтом 6 проходное сечение дросселя.

Рис.2.113. Пневматические дроссели: а - игольчатый пневмодроссель и его условное обозначение; б - пневмодроссель с обратным клапаном и его условное обозначение; в - тормозной пневмодроссель модели П-ДТ и его условное обозначение; г - пневмодроссель с глушителем и его условное обозначение
Известно, что выпуск сжатого воздуха в атмосферу сопровождается большим шумом. Для снижения уровня шума пневматические аппараты часто снабжаются глушителями. На рис.2.113г показан такой дроссель, который устанавливается в трубопроводе, выпускающем воздух в атмосферу. Щель дросселя между конической головкой и корпусом устанавливается поворотом винта 1 в ту или иную сторону. Сжатый воздух, пройдя из канала А в полость Б, преодолевает сопротивление дросселя и попадает внутрь сетки полости В, которая разбивает струю воздуха и, оказывая сопротивление выходу воздуха, снижает скорость истечения воздуха и шум.
Аппаратами, регулирующими величину давления сжатого воздуха, являются предохранительные и редукционные клапаны давления. Основные представители этих аппаратов уже рассмотрены в разделе 2.2. К ним можно добавить часто применяющийся предохранительный клапан с глушителем (рис.2.114). Он обеспечивает выпуск сжатого воздуха в атмосферу через глушитель 2 при превышении давления сжатого воздуха в канале А выше допустимого, настраиваемого клапаном 1.
На рис.2.115 приведен редукционный клапан давления, отличающийся от рассмотренного выше на рис.2.60 тем, что здесь вместо регулировочного винта 1 и пружины 11 используются мембрана 1 и давление управления Pу. Благодаря этому представляется возможным дистанционное управление работой клапана. Воздух из канала А под давлением P0 проходит сетку 2, кольцеобразную щель, образованную зазором между затвором 3 и корпусом 5, и попадает в выходной канал Б. При дросселировании воздуха через щель теряется энергия, поэтому давление Р ниже подводимого P0 . По каналу В воздух попадает в полость Е под мембрану, оказывая на нее воздействие снизу. Сверху на мембрану действует давление управления Pу. В установившемся режиме работы аппарата на мембрану сверху и снизу действуют равные силы, которые можно записать в следующем виде:
PуSм1 — PSм2 — Gпр4 = 0, где Sм1, Sм2– эффективные площади мембраны 1 соответственно сверху и снизу, Gпр4- сила нерегулируемой пружины 4. Отсюда имеем: P = PуSм1/Sм2 - Gпр4/Sм2, т.е. давление на выходе аппарата зависит от давления управления Pу. Меняя его по команде системы управления можно установить необходимое давление на выходе редукционного аппарата в соответствии с циклом работы пневматического привода.

Рис.2.114. Пневматический предохранительный клапан давления с глушителем и его условное обозначение
К направляющей аппаратуре пневматических приводов относятся обратные клапаны, пневматические распределители и клапаны быстрого выхлопа.
Принципиально пневматические обратные клапаны не отличаются от обратных клапанов гидравлических систем и предназначаются для пропуска сжатого воздуха лишь в одном направлении. Конструктивно они отличаются многообразием решений. На рис.2.116 показан ряд возможных исполнений пневматических обратных клапанов. Основным их звеном является затвор 2, который может быть коническим (рис.2.116а), плоским (рис.2.116б) с уплотнительным элементом 3 или сферическим в виде шарика (рис.2.116в). Поступая по каналу А, сжатый воздух преодолевает сопротивление слабой пружины 4 или силу собственного веса шарика и выходит в канал Б. Обратный путь сжатого воздуха из канала Б в канал А невозможен. Наиболее прост из них обратный клапан с шариком 2 (рис.2.116в). Однако он может устанавливаться лишь вертикально, а для предотвращения перекрытия шариком выходного канала Б надо предусматривать ограничители его хода, например, в виде диафрагмы 5.

Рис.2.115. Пневматический редукционный клапан давления с дистанционным управлением и его условное обозначение

Рис.2.116. Конструктивные схемы пневматических обратных клапанов и их условное обозначение: а - с коническим затвором; б - с плоским затвором; в - со сферическим затвором
Для пропуска сжатого воздуха в обоих направлениях применяют управляемые обратные клапаны, принудительным образом открывающие проход рабочей среды (рис.2.117). Показаны два способа – механическое управление открытием пропуска воздуха из канала Б в канал А (рис.2.117а) по команде У и пневматическое управление давлением Pу (рис.2.117б). Хотя может быть применен и любой другой способ управления (например, гидравлический, электромагнитный и т.п.).
Пневматические распределители отличаются большим многообразием конструкционного исполнения. Так, они могут быть плунжерными (золотниковыми). Их конструкция и принцип действия аналогичны гидравлическим распределителям плунжерного типа (рис.2.108). На рис.2.118 показаны пневматические золотниковые распределители типа 5/2 с различным способом управления. Так, на рис.2.118а переключение плунжера 2 в нижнюю позицию осуществляется механически нажатием упора на путевой переключатель 4, который через толкатель 3 смещает плунжер 2, сжимая пружину 1. Тем самым изменяется направление потока сжатого воздуха. Аналогично срабатывают и распределители с ручным тумблерным (рис.2.118б) и кнопочным (рис.2.118в) управлением. Надо отметить, что в распределителе с кнопочным управлением (в отличие от тумблерного) нижнее положение золотник будет занимать лишь при нажатой кнопке. Стоит отпустить кнопку, и плунжер вернется в верхнее положение.

Рис.2.117. Управляемые пневматические обратные клапаны и их условные обозначения: а – с механическим управлением; б – с пневматическим управлением

Рис.2.118. Плунжерные пневмораспределители: а - с механическим управлением; б - с тумблерным управлением; в - с кнопочным управлением
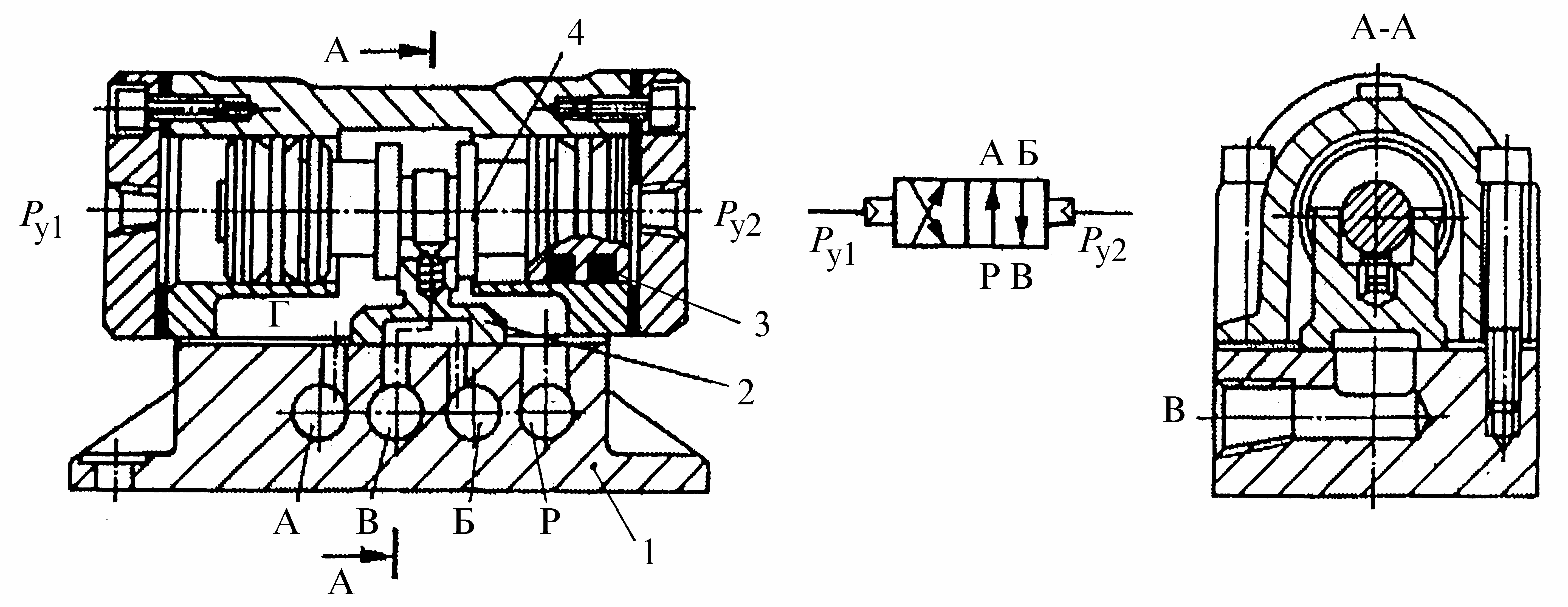
Кроме плунжерных пневматических распределителей есть пневмораспределители с плоским затвором (рис.2.119) и клапанного типа (рис.2.120). В распределителе типа 4/2сплоским затвором 2 его перемещение осуществляется с помощью плунжера 4, под торцы которого подается сжатый воздух под давлением системы управления Pу1 и Pу2 . В правой позиции канал А соединяется с каналом подвода сжатого воздуха под давлением Р, а канал Б с отводным каналом В. В левой позиции канал питания Р соединяется с каналом Б, а канал А – с каналом В. Все каналы выведены на заднюю стенку установленной плиты 1. Для предотвращения перетечек воздуха из полости питания Г в торцевые полости управления плунжера на плунжере установлены уплотнительные кольца 3.
Герметизация стыка затвора с плоскостью плиты 1 достигается поджимом самого затвора давлением Р в полости Г.
Особенностью пневматического распределителя типа 3/2 с ручным управлением (рис.2.120) является клапанный затвор 5, перемещаемый рукояткой 6.В левом положении рукоятки канал подвода сжатого воздуха Р перекрыт пробкой 3, поджатой к перемычке корпуса 1 пружиной 2. Канал А при этом соединен с каналом В. При перемещении рукоятки 6 в правое положение затвор 5 своим торцом упирается в пробку 3, закрывая канал выхлопа В. При дальнейшем перемещении вправо он отжимает пробку 3 и тем самым канал питания Р соединяется с каналом А. Возврат в левую позицию осуществляется действием пружин 4 и 2.
Для увеличения быстродействия пневматической системы применяются клапаны быстрого выхлопа. Они соединяют опорожняющуюся полость пневматического двигателя с атмосферой самым коротким путем, благодаря чему давление в пневматическом двигателе почти мгновенно становится равным нулю, и двигатель быстро возвращается назад. Происходит это следующим образом. По команде системы управления Pу распределитель занимает правую позицию и подключает канал питания Р к каналу А клапана быстрого выхлопа (рис.2.121б). Потоком сжатого воздуха уплотнительный элемент 3 поджимается к штуцеру 2 и пропускает рабочую среду в канал Б (рис.2.121а), а оттуда в левую полость цилиндра. Поршень совершает рабочий ход. Когда команда управления системы Pу снимается, то распределитель занимает левую позицию. При этом канал питания Р перекрывается, а канал А соединяется с атмосферой (рис.2.120 б). Уплотнительный элемент давления воздуха в цилиндре смещается вправо и открывает выход из канала Б в канал В и в атмосферу по кратчайшему пути. Давление в цилиндре резко падает до нуля, а поршень действием пружины быстро возвращается влево и готов к совершению нового рабочего хода.

Рис.2.119. Пневмораспределитель с плоским затвором и его условное обозначение

Рис.2.120. Конструктивная схема пневматического распределителя клапанного типа модели В76 и его условное обозначение

Рис.2.121. Клапан быстрого выхлопа модели П-КВВ-2.5: а – устройство; б – схема его включения в пневмопривод; 5 – его условное обозначение
С помощью регулирующей и направляющей аппаратуры и исполнительной подсистемы можно создавать простейшие гидравлические и пневматические приводы и решать различного рода технические задачи автоматизации технологического оборудования.









